发布日期:2025-11-09 05:11 点击次数:100


娃哈哈的营业河山里,一场围绕“坐褥、商标、股权”的博弈早已咨嗟万千。
一边是践诺掌控商品坐褥销售的宏胜集团,一边是手抓“娃哈哈”金字商办法娃哈哈集团,再加上背后手抓46%股权的国资鼓吹,三方的角力从宗馥莉掌权时便徐徐升级。
如今,宗馥莉从万众刺眼的“领受者”,沦为品牌限定权的“出局东谈主”,这场博弈终于败露了了了的详尽。
宗馥莉的下野,某种进程上不错说是在既定利益神态下,她为我方和娃哈哈各自寻得的一种最优解。
打了胜利后离场
职权棋局再起海浪。
在娃哈哈的事迹高点,宗馥莉遴选了甘休——辞去娃哈哈集团法定代表东谈主、董事及董事长等中枢职务。这份9月提交的辞呈,已在10月10日前走完董事会经由。
10月10日当天,在娃哈哈集团召开的董事会上,除了通过宗馥莉下野事项外,还任命许念念敏为娃哈哈集团总司理,董事长职务空白。
从2024年8月29日崇拜接过董事长、法东谈主、总司理三枚钤记,到如今交权离场,宗馥莉方法上的掌舵时长仅一年时辰。

宗馥莉掌舵时长仅一年/图源:视觉中国
她初中就赴好意思留学,2004年大学毕业回到娃哈哈并从下层作念起,2007年担任宏胜饮料集团总裁,2018年担任娃哈哈集团品牌公关部部长,2020年兼任集团销售公司副总司理,2021年出任集团副董事长兼总司理。
自2023年驱动,宗庆后就也曾让宗馥莉以副总司理身份,“践诺上参与公司紧要决议”。
从时辰上来看,不到三年时辰,宗馥莉就完好走过了从夺权、掌权到交权的职权全周期,其中的剧情放诞得堪比营业据说演义。
更引东谈主注重的是,她身边徐徐集中起一批“宏胜系”主干。宏胜集团在娃哈哈体系内的“扩展”,早从宗庆后期间就埋下伏笔。彼时,宏胜已手抓不少坐褥与经销营业务,算是宗庆后为儿子铺就的“自留地”。
但宗馥莉交班后,宏胜的扩展速率深入加速。在她的主导下,娃哈哈集团的中枢钞票——从主干职工到合营多年的经销商资源,驱动批量转签至宏胜,更径直影响了娃哈哈集团的收入与利润。
职权布局的意图了然于目。至此,娃哈哈集团的扮装徐徐从“全链条运营者”退化为了“商标持有方”,其要点透顶转向商标使用权的解决,宏胜则成了践诺的“坐褥销售主力军”。
外部关停低效工场,里面实践高效翻新,转变的刀刃从未如斯尖锐。没东谈主否定娃哈哈的旧体系需要改,毕竟,宗庆后期间的“东谈主治”模式,眷属企业的保守立场,早已不稳当这个变化节律这样快的市集。
但拆了旧架子就能搭起新体系吗?
事实上,在这些旧架子上,还有补助娃哈哈数十年的利益均衡,盘根错节。此外,犬牙交错的股权关系,也让宗馥莉的职权根基从一驱动就埋着隐患。
在组织层面的颠簸下,眷属内斗的旋涡与股权迷宫也藏在其中。从“独女稳稳交班”到“天降弟妹抢家产”,宗家复杂的眷属关系网将企业的传承困局,败露得清清白白。
与此同期,最具戏剧性的反差体当今了事迹报内外。2024年,53%的营收增速创下娃哈哈史上最高记录,2025年一季度增速仍超30%。莫得哪家企业会在“打了胜利”之际换帅,但宗馥莉偏巧成了例外。

胜利刚打完,就濒临换帅,这种情况在企业案例里也未几见。图为娃哈哈乳成品自动化坐褥活水线/图源:视觉中国
复杂场合中,这场职权更替留住了一个耐东谈主寻味的注——转变的锐气,适值撞上了眷属的暗潮与股权的迷局,即即是创下历史最好事迹的掌舵者,也巧合能抓紧手中的船舵。
而娃哈哈的航向,断然迎来新的调度。
娃小宗,开微博
一个更要道的问题浮出水面:这位曾执掌中国饮料巨头的“二代舵手”,究竟要去哪儿?
为止目下,杭州娃哈哈集团有限公司的法定代表东谈主依然是宗馥莉,最近一次变更日历停留在2024年8月29日。如今,她的下野音问已出,工商信息还未跟进变更。
娃哈哈这家1987年起家的企业,从赤手起家到各人跳跃的食物饮料巨头,稳居中国企业500强、民营企业500强之列。而它股权结构像“鼎”一般,从一驱动就埋下了制衡的基因。
最大鼓吹是持股46%的杭州市上城区文商旅投资控股集团有限公司——这家由区财政局100%控股的国资平台,手抓统统的说话权。宗馥莉持股29.4%,是从宗庆后那领受的“家底股”。剩下的24.6%则包摄杭州娃哈哈集团有限公司下层工会联贯委员会(职工持股会),牵连着数千职工的利益。

娃哈哈,从1987年起家/图源:视觉中国
而最要道的“命门”,恰恰在“娃哈哈”这三个字的商标权。在现行股权架构下,这个追随了几代东谈主成长的品牌,其使用权有着一条铁律:必须得回整体鼓吹一致愉快,不然任何一方皆无权单独使用。
商标转让的失败,更成了博弈的要道调度点,这也让宗馥莉闪现到,在国资主导的股权架构下,“娃哈哈”商标,她长久无法完全掌控。“别辟门户作念我方的品牌”,成了她退无可退的遴选。
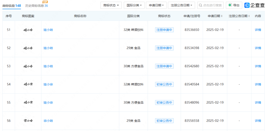
一场早有预谋的品牌解围战,也就此浮出水面。10月11日,一个名为“娃小宗”的微博账号完成了平台认证,认证主体直指宏胜饮料集团有限公司,审核通落伍辰恰好是9月30日——距离宗馥莉下野音问曝光仅10天。
尽管这个账号目下尚未发布任何内容,但已在一天时辰内赶快积存了上万粉丝。它的出现,像是一枚提前埋下的信号弹,是宗馥莉脱离娃哈哈后的新战场。
更早的伏笔,也早就体当今了2025年的商标注册记录里。2月至5月,宏胜饮料集团有限公司密集肯求了几十个“娃小宗”商标,天然大皆还处于“恭候践诺审查”阶段,但最中枢的几类商标已完成初步坚决,十分于为“娃小宗”的上市铺平了要道谈路。

宏胜饮料肯求注册多款商标
而这场转型中,一个要道东谈主物的动向很是引东谈主眷注——宏胜饮料集团有限公司坐褥中心总监严学峰。这位被外界视作宗馥莉“亲信”、娃哈哈中枢东谈主物的高管,在10月10日被知情东谈主士阐明已回到宏胜集团平素上班。但就在不久前的10月2日,媒体报谈称严学峰因涉嫌违法,被杭州市上城区次序查验委员会立案审查,另有最新报谈,他在10月5日被捣毁立案审查。
宗馥莉天然离开了娃哈哈的中枢解决层,但她通过宏胜,依然维系着与娃哈哈生态的缜密研讨,而“娃小宗”的崛起,大概正是她在现存神态下,冲破股权与商标困局的一次迫切尝试。
这一次的离开注定不曲直常。
何至于此
宗馥莉何至于此?
仅仅因为商标使用“不对规”吗?
宗馥莉第二次辞去集团中枢职务的音问传开时,10月11日,她的叔叔宗泽后在一又友圈写下的一段话,揭露了这场眷属商战里最潜伏的收用逻辑——“在中国这个环境,得讲情面世故”,而这恰正是宗馥莉被指“纯真”的所在。
“许多一又友来问我,宗馥莉第二次下野是如何回事。”宗泽后的笔墨里带着几分过来东谈主的咨嗟,他翻出第一次下野时的一又友圈,字字句句皆在戳破这场交班困局的中枢。

“当初我就说,她最大的问题是搞错了礼貌。交班娃哈哈,不该一上来就想作念大范围、赚快钱、大刀阔斧改近况。首要该作念的,是作念善事、作念慈善,让系数东谈主皆认同你。在这个过程里,问题会我方冒出来,东谈主才也会我方显出来,交班的事天然水到渠成。”
宗泽后也谈出:“娃哈哈从根上算,国度是大鼓吹,天然得听国度的。如果全是自家股份,你想如何折腾皆行;可在国企体系里,你就是个做事司理东谈主,必须夹着尾巴作念东谈主。”
这番话像一面镜子,照出了宗馥莉在职权场中的分解偏差——她大概懂营业、懂市集、懂如何成绩,却没吃透收用企业里“职权均衡”与“情面世故”的潜轨则。
宗泽后承认,在宗家下一代里,宗馥莉已是“不落俗套”的存在。
但宗泽后也绝不客气地说,宗馥莉“对博大深湛的中国文化了解太少”。
“往时说德艺双修才气成正果,德没修成,艺也没学成,如何能承担大任?”
临了那句惊奇更是书不宣意:娃哈哈从来不是宗家的私产,是宗家跟无数职工、无数奢华者沿途拼出来的品牌。它陪着“80后”“90后”长大,往后他们的孩子,说不定还会诅咒这份童年里的甜味。

娃哈哈与奢华者一块前行、成长/图源:娃哈哈
宗泽后的这番话,谈破了宗馥莉交班之路从一驱动就注定的险峻——宗庆后数十年龄无巨细的“亲力亲为”,早已把娃哈哈打变成了一座“个东谈主颜色浓郁的营业王国”,也让“二代打法”成了一场难破的困局。
股权不错领受,但巨擘很难。
这场困局的伏笔,早在2024年7月第一次下野时就已埋下。
那天,一封宗馥莉亲笔签名的《致娃哈哈整体职工的函》陡然流出,一忽儿在公论场炸了锅。信里直言,因“其他鼓吹质疑”,她已书面肯求辞去副董事长与总司理职务——寥寥数语,把企业鼓吹间的不和摆到了台面上,也败露了她在职权博弈中的“不擅间接”。

宗馥莉亲笔签名的《致娃哈哈整体职工的函》
从下野到留任,七天里的“闪退闪回”,是一次矛盾的激化,也像一场充满戏剧性的职权试探。可谁也没意象,这场看似杀青的打法,最终照旧在一年多后,以第二次下野画上句号。
如今,宏胜集团掌控了坐褥销售的“实”,娃哈哈集团抓着商办法“名”,国资鼓吹则用股权把控着最终的说话权。
值得珍重的是,宗馥莉为“娃小宗”定下了一个无餍勃勃的方针:年销售300亿。
从这个方针能看出,这场被外界称之为“体面的切割”背后,宗馥莉并未责怪无餍,反而试图用娃小宗复制致使高出娃哈哈的色泽。宗馥莉的解围战,从一驱动就带着济河焚州的决绝。
有益旨真谛的是,时于当天,宗泽后也“另立宗派”了。

宗泽后
10月10日,“娃小智”品牌在杭州举行了招商会。而娃小智的董事长正是宗泽后。天眼查信息炫夸,杭州宗盛营业发展有限公司领有“娃小智”在爽快食物、啤酒饮料、食物等娃哈哈主营业务关系的商标,而该公司实控东谈主吴坚则是宗泽后的亲信。
据蓝鲸新闻报谈,在这场招商会上,“娃小智”的招商东谈主员默示,“咱们从国庆节前后驱手脚念娃小智,这边属于宗氏眷属,就是宗泽后这边,十分于咱们要和宗馥莉沿途竞争市集。目下成为代理莫得保证金,初度拿货不低于3万块钱就不错了”。
宗庆后的胞弟对上了宗庆后的儿子,谁会赢呢?
Powered by 开云彩票官方网站 登录入口 @2013-2022 RSS地图 HTML地图